Proizvod/Serija antenskog razdjelnika SAR Barczak
Kod: L-ZLA0996
Brza dostava
Pažljivo i brzo ćemo zapakirati vašu narudžbu.

Korisnička podrška
Uvijek ćemo odgovoriti na vaša pitanja i rado ćemo vam pomoći.

Plaćanje karticom
Kod nas se ne morate bojati plaćati karticom. Vaše podatke pažljivo čuvamo i nikome ih ne otkrivamo.
Detaljan opis proizvoda
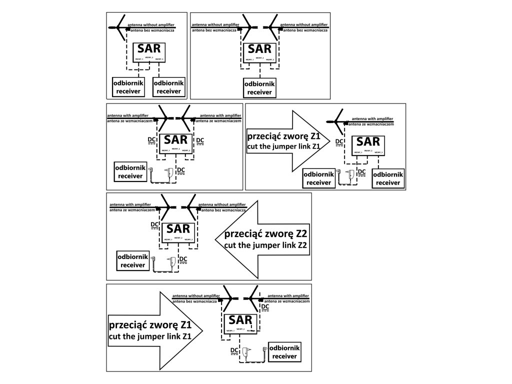
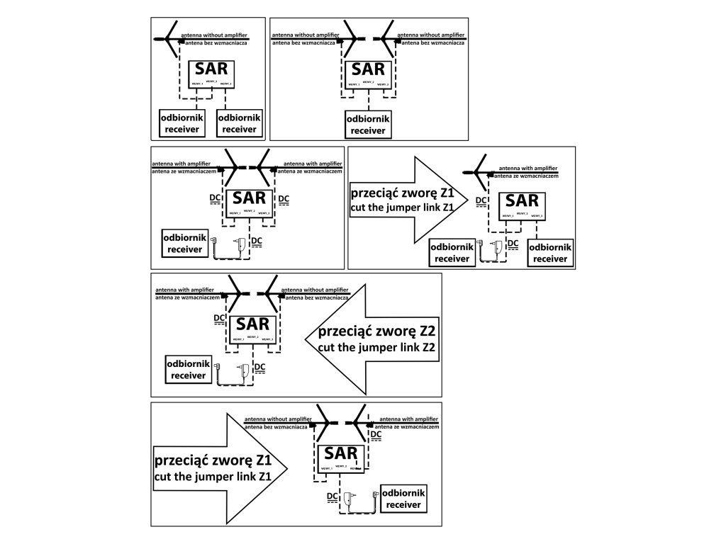
SAR je sabirač i razdjelnik antena konstruiran na transformatoru za odvajanje. Između priključaka
(WE/WY_1 / 2 / 3) postoji prijelaz za jednsmjerni tok, što omogućuje napajanje antennih pojačala putem
koaksijalnog kabela.
Upozorenje! U slučaju napajanja pojačala samo jedne od antena, potrebno je presjeći spojnicu (Z1 ili Z2) u krugu
antene bez pojačala.
Mogućnost rada u dva načina:
1. Sabirač – spajanje signala s dviju RTV antena na jedan prijemnik.
2. Razdjelnik – dijeljenje signala s jedne antene na dva RTV prijemnika.
Hvala vam na povjerenju i odabiru proizvoda tvrtke Barczak. Uvjereni smo da će ispuniti vaša
očekivanja. Želimo vam dobar prijam i zadovoljstvo s radom uređaja.
Tehnički podaci:
Opseg prijema: UKF-FM, VHF, UHF
Kanali: 1-60
Frekvencijski raspon: 1 - 694 [MHz]
Prilagođavanje, koeficijent stojećeg vala (VSWR): < 2,0
Prigušenje: do 4 dB
Broj priključaka: 3
Tip konektora: priključci
Ulazna impedancija: 75[ ]
Izlazna impedancija: 75[ ]
Materijal kućišta: ABS
Montaža na stup: stezaljka za zatezanje##
Dodatni parametri
| Kategorija: | Električna instalacija |
|---|---|
| Težina: | 0.09 kg |
| EAN: | 5907799750572 |
Ocjena proizvoda
Budite prvi koji će objaviti članak na ovoj stavci!
Rasprava
Budite prvi koji će objaviti članak na ovoj stavci!
